全球主机交流论坛

 找回密码
 注册

QQ登录

只需一步,快速开始

CeraNetworks网络延迟测速工具IP归属甄别会员请立即修改密码
查看: 1353|回复: 1

ImpactVPS KVM VPS测试报告

[复制链接]
发表于 2018-6-25 18:27:35 | 显示全部楼层 |阅读模式
ImpactVPS成立于2013年,主营西雅图和达拉斯的VPS,该商家只有黑五有半价和充值活动,购买过他家VDR资源包的应该都知道是比较稳定的商家。近期推出了KVM VPS,开放测试,给到的配置是2核CPU,4G内存,4TB流量,60G NVMe硬盘,只在西雅图,10Gbps的带宽,Virtualizor面板。
支持IPv6、rDNS、Internal IP

测试一:bench脚本,使用的是老鬼的测试脚本
  1. wget -qO- git.io/superbench.sh | bash
复制代码



使用的是Intel新款银牌处理器,性能不错,NVMe的硬盘速度非常棒,带宽也非常足。

测试二:网络线路
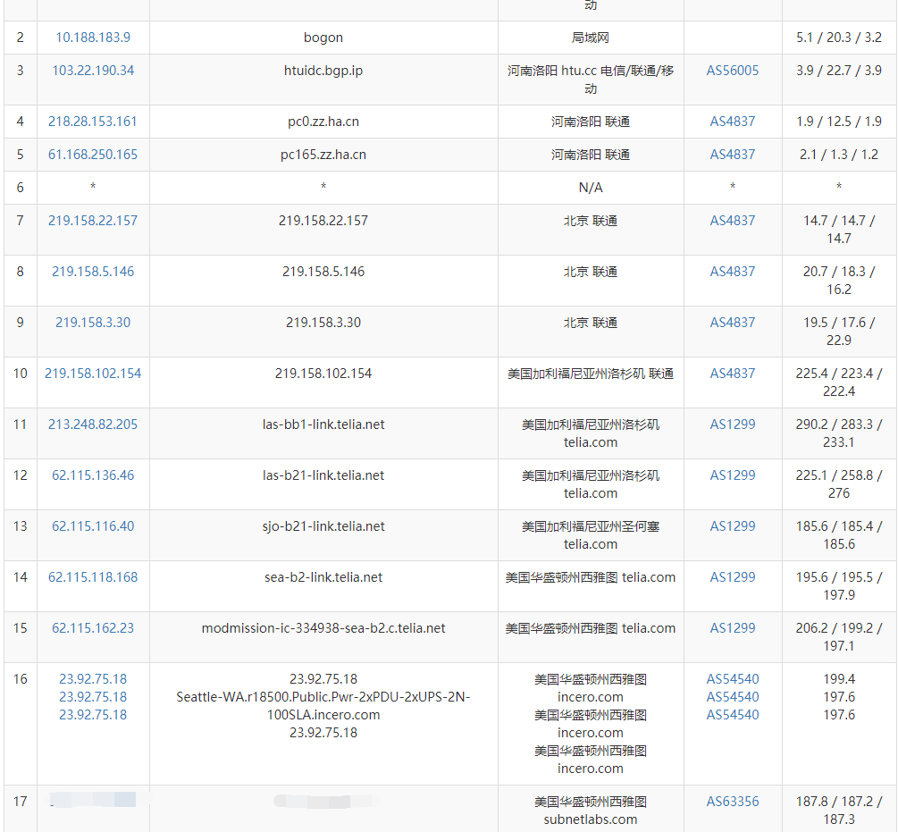
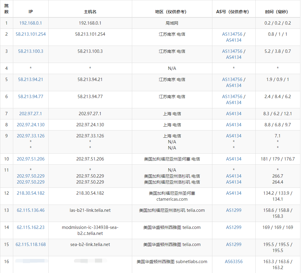
测试点:河南BGP(联通)、江苏南京电信、四川德阳移动 来回网络线路
先上去程:




三网telia,incero机房,还行,属于那种平常没事炸了就GG的线路。

下面是回程:
因为河南BGP回来是电信,所以换成北京联通去测试。移动telia,电信联通gtt。




测试三:UnixBench测试
使用的是泰迪的脚本
  1. wget --no-check-certificate https://github.com/teddysun/across/raw/master/unixbench.sh
  2. chmod +x unixbench.sh
  3. ./unixbench.sh
复制代码





测试四:SpeedTest测试



有图比测试跳过,避免被墙。

还处在测试期,暂无定价。测试机不一定什么时间会取消,LET原帖:https://www.lowendtalk.com/discussion/147326/impact-vps-nvme-kvm-beta-rewards-for-participating 有兴趣可以去申请,测试反馈后会得到优惠价格。

看这硬件和带宽质量,应该不会太低,适合追求稳定建站的。
发表于 2018-6-25 18:44:32 | 显示全部楼层
挺好的,价格估计5刀+
您需要登录后才可以回帖 登录 | 注册

本版积分规则

Archiver|手机版|小黑屋|全球主机交流论坛

GMT+8, 2026-4-1 02:19 , Processed in 0.070105 second(s), 9 queries , Gzip On, MemCache On.

Powered by Discuz! X3.4

© 2001-2023 Discuz! Team.

快速回复 返回顶部 返回列表