全球主机交流论坛

 找回密码
 注册

QQ登录

只需一步,快速开始

CeraNetworks网络延迟测速工具IP归属甄别会员请立即修改密码
查看: 1164|回复: 8

[疑问] 请大佬帮忙辨别是否属于CN2

[复制链接]
发表于 2018-8-19 13:04:53 | 显示全部楼层 |阅读模式
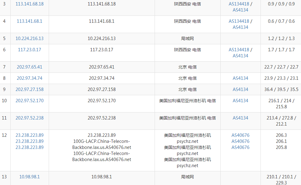
发工单让客服换cn2线路,他很爽快的回了消息并附带IP让我选,我追踪路由没看到有59.43段,都是202.97,说明这不是CN2线路吧?

23.228.232.65


 楼主| 发表于 2018-8-19 13:10:12 | 显示全部楼层

好的谢谢,我找到了这个

202.97勉强算cn2 163接公网、DCN接维护、CN2接集团 1、DCN网是网管网,网管服务器全部接在这个网上,还有网管终端,管理着承载网的所有设备,包括核心网设备;
2、163网是俗称,其实指的是ChinaNet网,也就是中国目前最大的互联网,中国电信的绝大多数网络客户全部是接在这张网上,它提供国际出口;
3、CN2也就是ChinaNet2,是中国电信最新建设的最先进基于MPLS技术的承载网,主要提供给客户MPLS 扶墙业务,比之基于ChinaNet 提供的扶墙业务,无论是带宽保证和延迟上有着无可比拟的优势,而且CN2有自己专用的欧洲出口和美洲出口(独立于ChinaNet的),所以使用CN2网络访问国外网络速度极快,当然CN2价格也很昂贵,除非有特殊需要,一般都是有经济实力的大公司使用
发表于 2018-8-19 13:11:26 | 显示全部楼层
这是cn8102,楼主快抢购
 楼主| 发表于 2018-8-19 13:13:01 | 显示全部楼层
affyun.org 发表于 2018-8-19 13:11
这是cn8102,楼主快抢购

我去怼客服去了
发表于 2018-8-19 13:13:06 | 显示全部楼层
7a8e5cf9d72a60593ba3ad152234349b023bba8b.jpg (8.3 KB, 下载次数: 0)
发表于 2018-8-19 13:36:53 | 显示全部楼层
哪个商家的,求了解。
发表于 2018-8-19 13:46:31 | 显示全部楼层
这是cn8102,楼主快抢购
您需要登录后才可以回帖 登录 | 注册

本版积分规则

Archiver|手机版|小黑屋|全球主机交流论坛

GMT+8, 2026-3-9 20:46 , Processed in 0.067012 second(s), 12 queries , Gzip On, MemCache On.

Powered by Discuz! X3.4

© 2001-2023 Discuz! Team.

快速回复 返回顶部 返回列表