全球主机交流论坛

 找回密码
 注册

QQ登录

只需一步,快速开始

CeraNetworks网络延迟测速工具IP归属甄别会员请立即修改密码
查看: 3390|回复: 14

新疆也有国际出口?求解答

[复制链接]
发表于 2018-8-24 20:29:15 | 显示全部楼层 |阅读模式


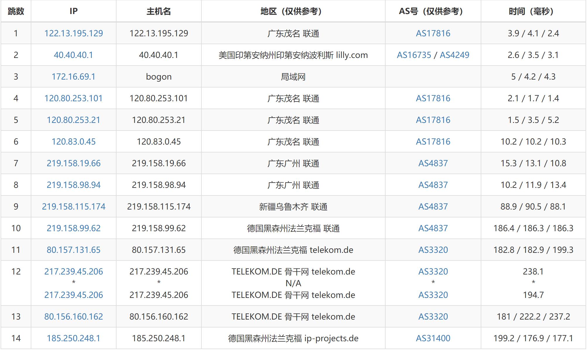
测试IP185.250.248.1
发表于 2018-8-24 20:30:03 来自手机 | 显示全部楼层
有的,线路还可以,以前用过
发表于 2018-8-24 20:30:59 来自手机 | 显示全部楼层
联通电信都有,移动不清楚
发表于 2018-8-24 20:34:02 | 显示全部楼层
这个以前我都测过了 一开始买的是VPS77 联通友好
发表于 2018-8-24 21:46:26 | 显示全部楼层
北方的联通走北京-俄罗斯-德国,速度也不错。
发表于 2018-8-24 21:47:48 来自手机 | 显示全部楼层
提示: 作者被禁止或删除 内容自动屏蔽
发表于 2018-8-25 00:31:28 | 显示全部楼层
新疆还有cn2呢
发表于 2018-8-25 00:42:29 来自手机 | 显示全部楼层
提示: 作者被禁止或删除 内容自动屏蔽
发表于 2018-8-25 01:41:33 | 显示全部楼层
新疆人可以不用梯子就能FQ?
发表于 2018-8-25 01:48:17 | 显示全部楼层

不是很清楚的嘛
您需要登录后才可以回帖 登录 | 注册

本版积分规则

Archiver|手机版|小黑屋|全球主机交流论坛

GMT+8, 2026-3-8 12:54 , Processed in 0.065375 second(s), 11 queries , Gzip On, MemCache On.

Powered by Discuz! X3.4

© 2001-2023 Discuz! Team.

快速回复 返回顶部 返回列表