全球主机交流论坛

 找回密码
 注册

QQ登录

只需一步,快速开始

CeraNetworks网络延迟测速工具IP归属甄别会员请立即修改密码
查看: 3270|回复: 33

[Windows VPS] 199月,出租一台3IP 10m的香港杜甫,可刀

[复制链接]
发表于 2019-1-26 13:07:39 | 显示全部楼层 |阅读模式
本帖最后由 biubiu 于 2019-2-3 09:47 编辑

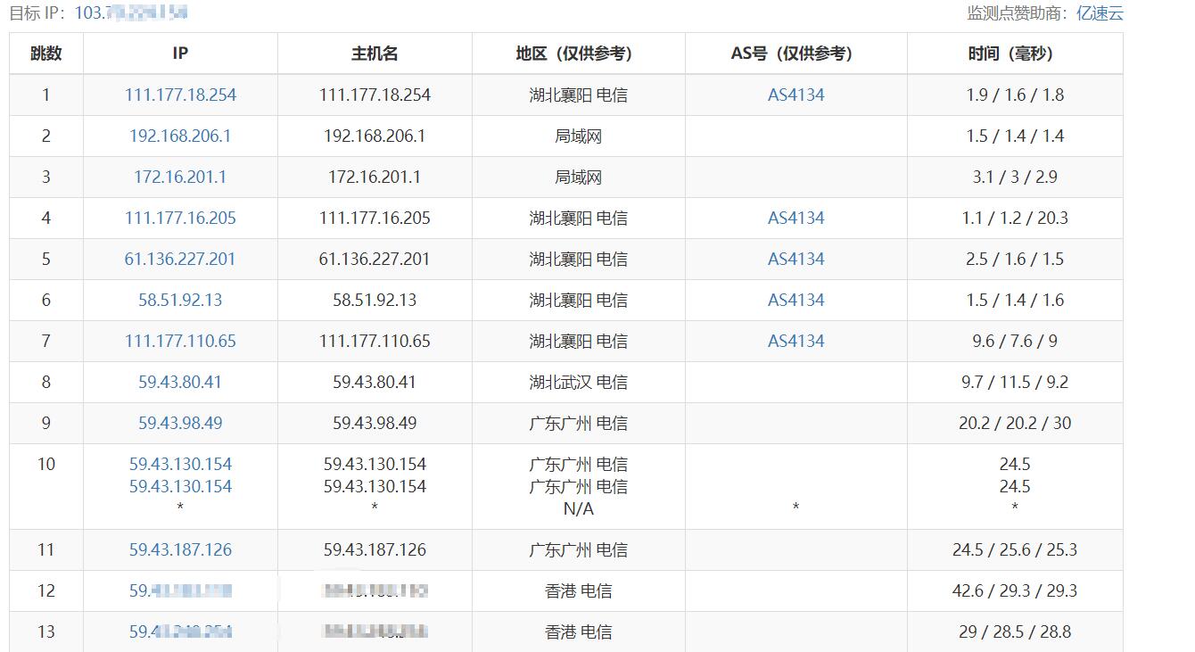
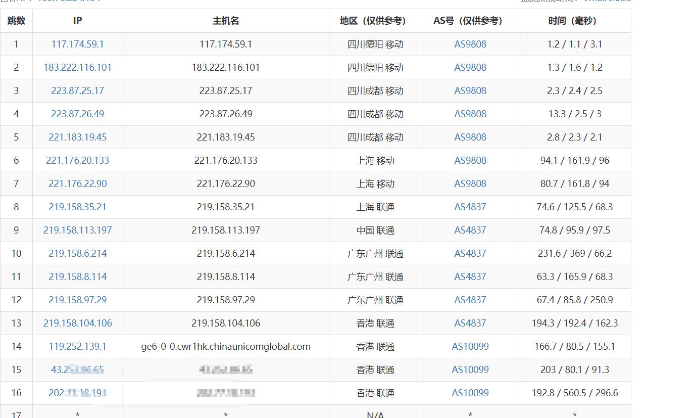
配置是3IP L5630 8G 1T  10M的口子,好像带30G防御,不过我没实测过

目前装的win,对联通还行,移动可能没联通稳定(偶尔绕路,目前正常)

装系统需要联系客服,所以需要些时间


199一月租






下面是网络情况:

我试移动,有时候会饶美











今天测试又正常了



发表于 2019-1-26 13:21:54 | 显示全部楼层
300左右(指这个价在论坛能出出去)
 楼主| 发表于 2019-1-26 13:27:41 | 显示全部楼层
淡某人二世 发表于 2019-1-26 13:21
300左右(指这个价在论坛能出出去)


月吗,那挺不错了,超过我预期了

这家后台比较弱,只能重启什么的,还有个KVM按钮,会下载下来个配文件,貌似是生小鸡用的?

装系统什么的,只能联系客服
发表于 2019-1-26 13:59:32 | 显示全部楼层
新力迅的吧
 楼主| 发表于 2019-1-26 14:46:51 | 显示全部楼层

不是新力迅,去年T楼一个商家送的

折腾了一月,然后没项目,索然无味了,不如租出去
 楼主| 发表于 2019-1-31 17:53:47 | 显示全部楼层
这几天一忙,又把这事忘了
 楼主| 发表于 2019-1-31 17:58:30 | 显示全部楼层


是的,小口子无爱

主要没项目,还不如租了买小鸡玩
您需要登录后才可以回帖 登录 | 注册

本版积分规则

Archiver|手机版|小黑屋|全球主机交流论坛

GMT+8, 2026-3-24 01:57 , Processed in 0.063311 second(s), 10 queries , Gzip On, MemCache On.

Powered by Discuz! X3.4

© 2001-2023 Discuz! Team.

快速回复 返回顶部 返回列表