全球主机交流论坛

 找回密码
 注册

QQ登录

只需一步,快速开始

CeraNetworks网络延迟测速工具IP归属甄别会员请立即修改密码
楼主: 祖师

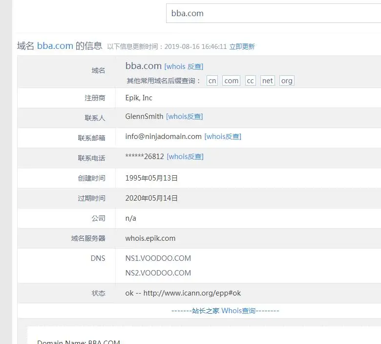
[Windows VPS] bba.com值多少钱

  [复制链接]
发表于 2019-8-16 16:45:10 | 显示全部楼层
应该比BBC好,因为是BBA啊
发表于 2019-8-16 16:46:07 来自手机 | 显示全部楼层
llmm.net帮顶,只要788,挥泪甩卖。老板域名不错,应该几百万到一千万左右,遇到有钱的大企业可能更高
发表于 2019-8-16 16:47:57 | 显示全部楼层
给我吧,我勉为其难的接受了
发表于 2019-8-16 16:48:03 | 显示全部楼层
这不是LZ的域名吧?和你截的whois不一样啊
发表于 2019-8-16 16:49:50 来自手机 | 显示全部楼层
amo 发表于 2019-8-16 16:48
这不是LZ的域名吧?和你截的whois不一样啊

这个whois没更新。西数上面显示的是阿里云的
发表于 2019-8-16 16:50:52 | 显示全部楼层
四舍五入一个亿
发表于 2019-8-16 16:51:04 | 显示全部楼层
my49cn 发表于 2019-8-16 16:49
这个whois没更新。西数上面显示的是阿里云的

万网查的确是阿里云注册的,DNS不一样,可能没更新
发表于 2019-8-16 16:51:06 | 显示全部楼层
amo 发表于 2019-8-16 16:48
这不是LZ的域名吧?和你截的whois不一样啊

你用什么垃圾whois ?
发表于 2019-8-16 16:51:27 | 显示全部楼层
大佬以前花多少钱买的
发表于 2019-8-16 16:52:09 | 显示全部楼层
aming 发表于 2019-8-16 16:51
你用什么垃圾whois ?

我用的垃圾chinaz
您需要登录后才可以回帖 登录 | 注册

本版积分规则

Archiver|手机版|小黑屋|全球主机交流论坛

GMT+8, 2025-10-12 03:00 , Processed in 0.068371 second(s), 6 queries , Gzip On, MemCache On.

Powered by Discuz! X3.4

© 2001-2023 Discuz! Team.

快速回复 返回顶部 返回列表